『ブリッジ整流回路』 スピーカーすべて blackbird1212さんのクチコミ掲示板画像1/1
ホーム
>
家電
>
スピーカー
>
画像1/1
Tweet
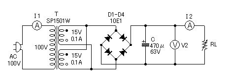
ブリッジ整流回路
投稿者名
[20605118]
blackbird1212
さん
撮影日時
カメラ機種
レンズ名
シャッター速度
焦点距離
絞り数値
露出補正
ISO感度
フラッシュ
[20605118] blackbird1212さんの画像一覧
ブリッジ整流回路
このウィンドウを閉じる