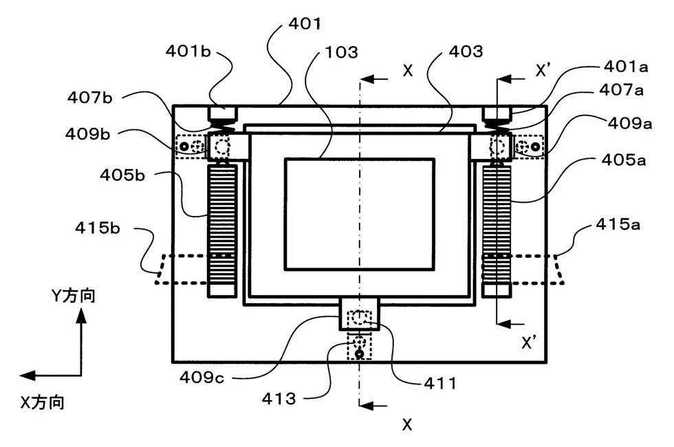
『特許文献から』オリンパス OLYMPUS OM-D E-M5 ボディ シーカーサーさんのクチコミ掲示板画像1/1
ホーム
>
カメラ
>
デジタル一眼カメラ
>
オリンパス
>
OLYMPUS OM-D E-M5 ボディ
>
画像1/1
Tweet
特許文献から
投稿者名
[18354644]
シーカーサー
さん
撮影日時
カメラ機種
レンズ名
シャッター速度
焦点距離
絞り数値
露出補正
ISO感度
フラッシュ
[18354644] シーカーサーさんの画像一覧
特許文献から
このウィンドウを閉じる